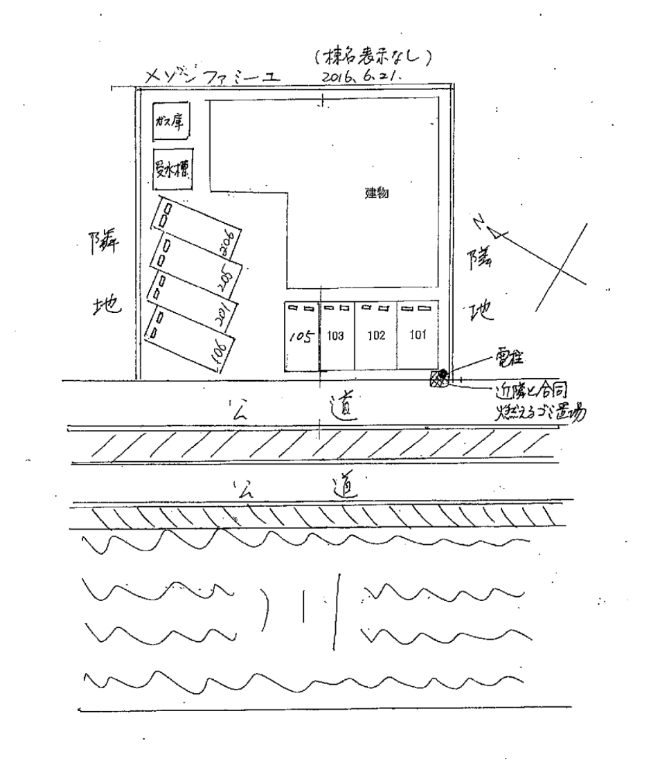
賃貸状況
10部屋中 8部屋賃貸中
10部屋中 2部屋空室
・建築基準法第22条地区
・築年数:20年
・残償却年数(耐用年数):本体 19年、 設備 2年
・令和5年1月:建物屋根、天井水漏れ改修工事
・年間ランニングコスト:固都税 220,500円、管理費 0円、共用電気料 19,200円、
共用水道料 12,000円、净化槽メンテナンス 16,500円、消防設備点検料 11,000円
・住戸の専有面積:24.30m²~40.02m²
|
3600万円 |
12.66% |
1DK |
|
|
||
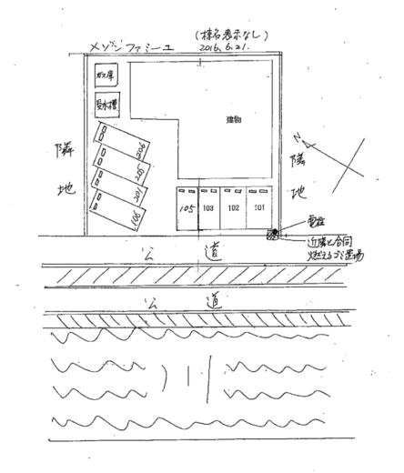
| 所在地 | 静岡県菊川市下平川 メゾンファミーユ |
|---|---|
| 交通 | JR東海道本線菊川駅 バス(平田本町 乗23分 停歩4分) |
賃貸状況
10部屋中 8部屋賃貸中
10部屋中 2部屋空室
・建築基準法第22条地区
・築年数:20年
・残償却年数(耐用年数):本体 19年、 設備 2年
・令和5年1月:建物屋根、天井水漏れ改修工事
・年間ランニングコスト:固都税 220,500円、管理費 0円、共用電気料 19,200円、
共用水道料 12,000円、净化槽メンテナンス 16,500円、消防設備点検料 11,000円
・住戸の専有面積:24.30m²~40.02m²
| 賃貸状況 | |||||
| 建物構造 | 鉄骨造 | 階数 | 地上2階 | 築年月 | 1991/07 |
| 建物面積 | 375.84m² | 間取り | 1DK | 総戸数 | 10戸 |
| 駐車場 | 有 無料 | 土地面積 | 437.00m² | 土地権利 | 所有権 |
| 私道負担面積 | 無 | 地目 | 宅地 | 都市計画区域 | 市街化区域 |
| 用途地域 | 第一種住居 | 建ぺい率 | 60% | 容積率 | 200% |
| 国土法届出 | 推進状況 | 現況引き渡し | 賃貸中 | ||
| 引き渡し | 相談 | 建築確認番号 | 取引形態 | 仲介 | |
| 注意事項 | |||||